
A recent patent filing suggests that Microsoft's next console is based on the idea that it can be scaled up - or down - over time, leading to speculation that the current notion of a console lifecycle could be replaced with rolling hardware upgrades.
Application 20120159090 was submitted in December 2010 at the US Patents and Trademark Office and was published last month, subsequently unearthed by "Sonic" from the Beyond3D Forum. It describes Microsoft's attempts to patent "versions of a multimedia computer system architecture... which satisfy quality of service (QoS) guarantees for multimedia applications such as game applications while allowing platform resources, hardware resources in particular, to scale up or down over time".
Patent applications are filed all the time, but what makes this one interesting and relevant is that the system being described - and revealed in attached diagrams (go here for more easily viewable pics) - shares the same fundamental ideas as the "Yukon" system covered briefly in the now infamous Xbox 720 leak that first emerged at the beginning of May. Those documents have been confirmed by sources as genuine and date back to August 2010, and the patent application gives us further insight into Microsoft's thinking during the beginnings of the R&D work that culminated in the development of the current Project Durango.
The patent goes much, much further than the 720 leak however. While much of that doc could be dismissed due to its summer 2010 vintage, and the fact it was circulated "for discussion only", this application gives some engineering muscle to concepts that were previously only addressed from a marketing perspective. The principle inventor behind the patent application, Jeff Andrews, produced this overview of the Xbox 360 hardware and is one of the chief hardware architects at Microsoft.
"The filing is over 18 months old but it shows Microsoft's top engineers devising a core console architecture that can be improved over time. Is the fixed console concept set to be replaced by iPad-style upgrades?"

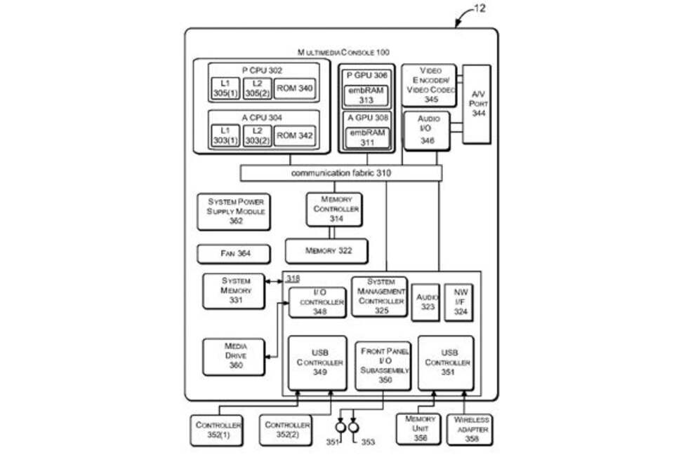
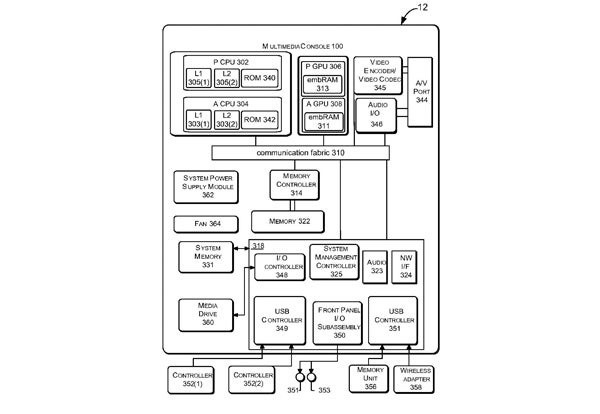
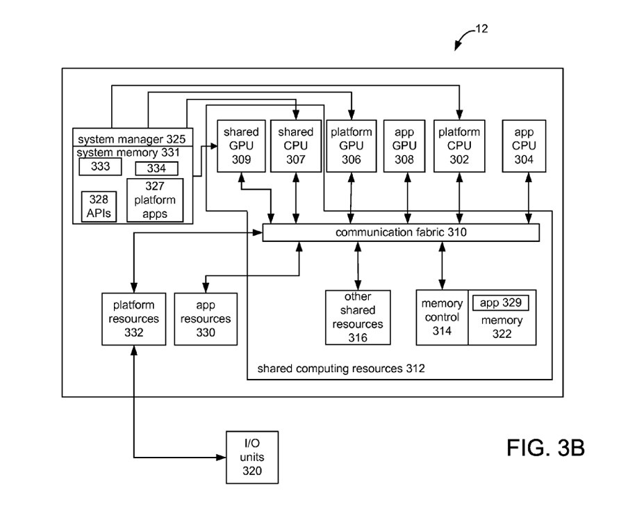
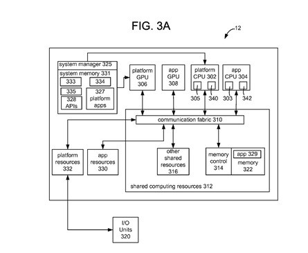
In the same way that PCs today are built around core components like motherboards, PSUs, RAM modules, and expansion cards, Microsoft is proposing its own "base architecture" for scalable console hardware going forward. Multiple models are considered (perhaps suggesting some level of customisation between OEMs) but all are based around principles we first saw in the 720 leak. For starters, this is a multi-CPU, multi-GPU system. One CPU/GPU combo is reserved for the "platform" and handles elements such as the dashboard and video encoding/decoding. The other element is the "application" aspect - which for a console would mostly cover games.
In the Xbox 720 leak, we saw something that Microsoft called "transmedia gaming" - the idea here being that platform apps could run concurrently with games. The company came up with the notion of running a golf game simultaneously with a real-life sports transmission, with the player actually participating against the competitors. Other examples included running a TV stream while gaming, opening up strategy guides while the game itself is running, and other more basic applications such as a news ticker app running during gameplay. Microsoft's strategy is to allow these things to happen without game performance being impacted. To make this possible, the firm suggests the idea of what it calls a "communication fabric" that links all aspects of the console and ensures that there is enough bandwidth to go around without share-stealing system resources.
The principle idea behind the patent is in providing a framework for integrating "platform" and "application" processing into a single system where both systems can run concurrently, but the overriding concept is the scalable architecture that allows for more advanced hardware revisions (with improved CPUs or GPUs for example) to be rolled out over time. One diagram even adds a third CPU/GPU set-up - shared processors that can lend a hand to the other two, for reasons unknown.
"Companies like Microsoft file hundreds of patent applications, but the fact this comes from leading Xbox engineers and has much in common with the '720' leak gives it extra-special levels of interest."
However, there are some interesting differences between the leak and the patent, which dates from four months later: Kinect was represented with dual cameras in the vision doc, but it's back to being a more conventional single camera affair in the patent application. It also suggests that the camera will once again hook up via USB - surprising bearing in mind how much of the current system's latency is down to the USB interface.
Factoring in the oft-repeated "10-year lifecycle" associated with games machines, why is Microsoft trying to a patent a scalable platform for a potential future console? The next-gen Xbox will ship eight years after its predecessor - assuming another eight years until its successor appears, Microsoft could conceivably come up with an entirely different, better architecture. The whole notion of scalability seems to be entirely at odds with the notion of fixed console hardware. But suppose that the next-gen isn't fixed at all? Or at least, not in the medium to long term?
While the patent could be interpreted to mean that different Xbox SKUs could be released with different levels of multimedia capability, the "over time" element in the application could suggest that Microsoft is giving itself the option of opting out from the traditional fixed architecture model. Consider the iPad - advanced 3D games run over several generations' worth of hardware, but typically the more modern the processor, the better the experience you get. It helps to drive new hardware sales and helps ensure that Apple stays ahead of its competitors in terms of specs and the overall experience. Combine this model with Microsoft dipping its toes into "buy now, pay monthly" subscription territory and there's the possibility that the next Xbox could be a new type of hardware platform - one that evolves over time, subsidised via monthly payments as part of an Xbox Live sub. Processing power on consoles and desktops isn't evolving with anything like the speed of mobile parts, so yearly updates seem unlikely, and on the plus side, the backwards compatibility issue would be resolved once and for all. Suddenly, the mooted Xbox Infinity codename doesn't sound quite so bizarre.
What should be stressed is that everything we've heard about the current Project Durango points towards a more traditional console design, and that this patent application is over 18 months old. Many of these applications are often lodged simply for legal reasons and never actually turn into final products. However, the links with the existing leak are surely more than coincidental, and at the very least provides us with an intriguing glimpse into the thinking of the hardware engineers working on the Microsoft's next-gen console.
Comments 0
Wow, no comments yet... why not be the first?
Leave A Comment
Hold on there, you need to login to post a comment...